Как хранить овощи без погреба. Как хранить овощи на зиму в квартире – секреты умных хозяек, не имеющих погреба
- Как хранить овощи без погреба. Как хранить овощи на зиму в квартире – секреты умных хозяек, не имеющих погреба
- Погреб своими руками в сибири. Выбираем место под погреб
- Как сделать погреб в деревне. Выбор типа сооружения и места для него
- Погреб по старинке. Сохраним урожай
- Подвал отдельно от дома. Что такое погреб
Как хранить овощи без погреба. Как хранить овощи на зиму в квартире – секреты умных хозяек, не имеющих погреба


Фото pixabay.com
Как сберечь урожай овощей садоводам, не имеющим погреба. Лук, морковь, картофель, чеснок, свёкла требуют особой сноровки для долгого хранения в квартире. При неправильном хранении они могут либо высохнуть, либо прорасти и сгнить. Что делать с овощами, чтобы сохранить их в квартире на зиму, разобрался Сиб.фм.
Хранение картофеля
Идеальная температура для картофеля 4-7 градусов, картошка любит тёмные и сухие места. В квартире это обычно утеплённый балкон или лоджия. Перед хранением клубни необходимо просушить, и смести с них остатки земли. Это предотвратит загнивание в будущем. Важно осмотреть картофель на предмет больных или испорченных плодов, их следует выкинуть.
Идеальным для хранения послужит мешок из нетканого полотна или мешковины или коробка, которая пропускает воздух. Картофель может соседствовать со свёклой, она будет впитывать влагу соседа, за счёт этого не будет высыхать.
Чтобы не дать развиться гнили, картофель можно обложить свежими листьями полыни или рябины. Если же гниль появилась, то картофелину следует выкинуть, а соседние с ней первыми использовать в готовке.

Хранение моркови
Морковь, как и картофель, должна храниться при низкой плюсовой температуре, идеально подойдёт балкон или лоджия. Но вот хранить её вместе с картофелем не рекомендуют.
Можно сложить корнеплоды в ящик или мешок из-под сахара, засыпать опилками или луковой шелухой и укутать старым одеялом. Срок хранения моркови не более 100 дней.
Хранение свёклы
При комнатной температуре свёкла будет храниться не больше недели. Чтобы сделать запас на зиму, корнеплоду нужна температура 1-4 градуса тепла и высокая влажность. Выше мы уже писали, что она хорошо соседствует с картофелем. Её также требуется предварительно высушить и очистить от земли.
Хранение лука
Лучшее место для лука в квартире — антресоль, утеплённый балкон или лоджия. Главное, чтобы было сухо, и имелся доступ к воздуху.
Бабушкин метод — складывать луковицы в колготки или чулки работает до сих пор.
Для хранения подходят крупные луковицы, без внешних повреждений. Мелкие в первую очередь должны использоваться в приготовлении пищи. Горькие и сладкие сорта, белый и красный лук следует хранить отдельно.
Хранение чеснока

Чеснок лучше всего хранится при температуре 1-4 градуса тепла. Его, также, как и лук, можно хранить в чулках и колготках, подвешивая под потолком. Часто головки лука вплетают в связки и тоже подвешивают. Он может храниться и в комнатной температуре, но не так долго. Некоторые хозяйки используют способ парафинирования. Головки лука опускают в расплавленный парафин (можно разогреть в кастрюле), так он не высыхает.
Хранение капусты
Кочаны можно хранить в холодильнике, предварительно очистив их от внешних листьев и обернув в полиэтиленовую плёнку. Они способны прожить там до 3-х месяцев. Также можно хранить капусту на балконе.
Напомним, ранее Сиб.фм рассказывал о самом вкусном рецепте самогона из домашних яблок .
А также читайте рецепт самых вкусных и хрустящих маринованных огурцов на зиму в банке .
Погреб своими руками в сибири. Выбираем место под погреб
Оптимальное место под погреб — на природной или рукотворной возвышенности. Если перепадов на участке нет, надо найти самый «сухой» участок с низким расположением грунтовых вод. Определиться можно по растительности — где она самая низкорослая, там вода далеко.
Идеально, если у вас есть геологическое исследование участка (заказывают при планировании дома). Там с достаточной точностью указано залегание водоносных горизонтов. Если такого исследования нет, примерный уровень грунтовых вод можно определить по тому, на какой глубине в колодцах находится зеркало воды.

Самое лучшее место, где можно сделать погреб — на естественной возвышенности
Еще вариант — в предполагаемом месте пробурить скважину глубиной около 2,5 метров. Если в ней нет воды, можно сделать погреб, заглубленный на 2 метра или немного больше. Бурить надо или весной, после схода снега, или осенью после обильных дождей. В это время самый высокий уровень грунтовых вод и неожиданностей в виде подтопления вам тогда бояться не придется.
По результатам исследований определяются с типом погреба:
- Если уровень грунтовых вод ниже 1,5 метров от поверхности, можно делать заглубленный погреб.
- Если вода на уровне 80 см можно делать полузаглубленный.
- Наземный погреб — это, скорее, овощехранилище. Требует большого объема работ и редко делается в частном хозяйстве.
Есть еще один вид погреба — подпол, который устраивается под домом, если в доме имеется достаточно высокий цоколь (1,5 метра и выше). Тогда выкапывают небольшой приямок размером где-то 2*2 метра, углубляясь не более чем на метр. На дно, с заходом на стенки котлована, укладывают гидроизоляцию, насыпают гравий (10-15 см), настилают дощатый пол. Если вода уже близко, лучше залить бетонную плиту по стандартной технологии.

Слегка заглубившись в грунт, можно сделать подпол для хранения консервации и овощей
Стенки выкладывают кирпичом или делают сруб из пропитанного бруса, хорошо утепляют снаружи. Крышку погреба под домом делают ниже уровня пола, тоже утепляют. В полу устраивают крышку чуть большего размера. На этом строительство подпола завершено. Этот вид погреба имеет смысл только в доме постоянного проживания — в нем всегда будет положительная температура. В домах сезонного проживания без отопления зимой он промерзнет, так что стоить такой погреб на даче смысла не имеет.
Как сделать погреб в деревне. Выбор типа сооружения и места для него
Есть большое количество способов сооружений, они отличаются своей конструкцией и расположением по отношению к поверхности земли.

Для начала нужно выбрать тип погреба
Погреб на даче может быть:
- утепленным и расположенным у капитальной стены дома;
- хранилищем из кирпича и обвалки;
- полузаглубленным, уходящим на метр под землю.
Последний земляной погреб актуален, если на участке присутствуют грунтовые воды, расположенные на 1,5-2 м от поверхности земли.
Прежде чем узнать, как сделать погреб на даче самостоятельно, рассматривают примитивные конструкции. Самый простой общепринятый котлован делается своими руками в виде помещения с прямыми углами и заниженным потолком. Его сооружают на улице. Для входа устанавливают люк, к которому пристраивают передвижную лестницу или сооружают ступеньки из бетона. Первая установка недостаточно удобна, так как подниматься и спускаться по перекладинам, имея груз в руках, сложно, а вот ступени будут надежнее, и сделать их не составит труда. Уместно будет использовать терморегулятор для погреба, который поможет контролировать оптимальную температуру.
В данном
Уже в процессе проектирования нужно задуматься о том, какие материалы будут использоваться в процессе конструирования, так как от них будут зависеть габариты строения, будет ли освещение в погребе и дополнительные блага. Некоторые предпочитают применять уже готовые плиты из бетона, другие заливают перекрытия самостоятельно, а третьи используют многослойные материалы, применяя гидроизоляцию, брус, доски и утеплитель.
Погреб по старинке. Сохраним урожай

Часто бывает так, что урожай выращен, собран, а хранить его негде. Иногда дачники оставляют овощи и заготовки на месте – в неутепленных подвалах садовых домиков. Или складывают на балконах городских квартир. Но это не очень удобно и хлопотно, да и урожай удается сохранить не всегда.
Избежать всех этих неприятностей поможет простейший погребок , соорудить который вполне по силам каждому…
Понятно, что надежнее всего устроить погреб на сухом возвышенном месте. Уровень пола должен быть хотя бы на 50 сантиметров выше грунтовых вод . Это легко проверить, замерив уровень воды в ближайшем колодце после сильных дождей или весной после половодья.
Самый простой по конструкции и исполнению – частично заглубленный погреб, который изображен на рисунке. Под него надо вырыть котлован по размерам предполагаемого погреба и тщательно зачистить стены и основание. Сделать это лучше вручную – и качество работ выше, и обнаруженные своевременно грунтовые воды можно немедленно изолировать.
Обычно это делается усиленным бетонным раствором с соотношением цемента и песка 1:1,5, а чтобы он быстрее схватился, добавьте 10% (от объема) жидкого стекла. На выровненное и утрамбованное дно котлована насыпьте слой крупнозернистого (желательно речного) песка или мелкого щебня толщиной 8-10 сантиметров, а поверх него слоем 2-3 сантиметра уложите тщательно размятую, без посторонних включений, жирную глину. Такой глиняный замок надежно защитит ваш погреб от протечек.
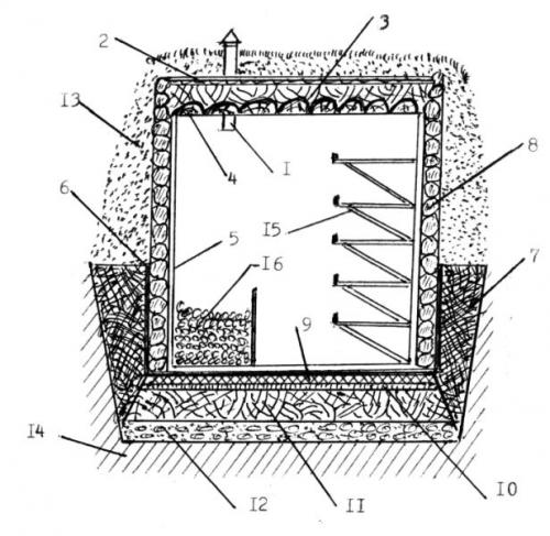
Схема погреба: 1. Вентиляционная труба. 2 Глиняная смазка. 3. Глина, перемешанная с соломой. 4. Накат из бревен или горбылей. 5. Слой цементно-песчаного раствора. 6. Обмазка разогретой битумной мастикой. 7. Глиняный замок. 8. Стенка погреба из камня. 9. Цементный раствор. 10. Рулонный гидроизоляционный материал. 11. Жирная глина. 12. Крупнозернистый песок или мелкий щебень. 13. Насыпной грунт с посевом травы. 14. Материковый (естественный) грунт. 15. Стеллаж. 16. Загородка (засек) с картофелем.
На высохшую и затвердевшую глину последовательно уложите два слоя из изопласта, унифлекса, рубероида или других гидроизоляционных материалов на битумной мастике или с использованием более современных ее аналогов. Гидроизоляционный рулонный материал подберите с запасом по длине, чтобы его концы можно было при укладке завернуть на стены. Когда настил пола высохнет, можно приступать к его завершающей отделке: на гидроизоляцию уложите слой цементного раствора толщиной 10-15 сантиметров (одна часть цемента марки 400 на три части песка), а сверху присыпьте слоем сухого цемента толщиной около 1-2 миллиметра. Когда он пропитается влагой, загладьте поверхность стальной пластиной – кельмой.
Стены погреба можно сложить из камня или хорошо обожженного кирпича, а затем оштукатурить цементным раствором (состава 1:3). После затвердения бетона желательно оклеить стены двумя-тремя слоями рулонных гидроизоляционных материалов, затем соорудить глиняный замок. Деревянную опалубку, возведенную вдоль стен, забейте тщательно размятой глиной (толщина слоя 25-30 сантиметров). Когда глина затвердеет, опалубку снимите, а стены оштукатурьте цементным раствором (в соотношении 1:2) и побелите свежегашеной известью.
Перекрытие погреба представляет собой накат из бревен, толстых досок или горбыля, покрытых двумя слоями рулонных гидроизоляционных материалов и обмазанных по старинке – глиняной смазкой (глина с добавкой соломенной сечки или лесного мха). Чем толще слой смазки, тем надежнее гидроизоляция потолка. Остается лишь насыпать сверху землю. Это предохранит погреб от перегрева летом и переохлаждения зимой.
Проветривается погреб через вентиляционную трубу сечением примерно 200х200 миллиметров, которая сколочена из тщательно подогнанных досок. Труба располагается под потолком. Для складирования овощей можно соорудить загородку, а для заготовок – стеллажи.
Подвал отдельно от дома. Что такое погреб
Погреб — это место для хранения продуктов, которое охлаждается и увлажняется за счет естественных свойств земли. Чаще всего погреб находится под землей (заглубленный), но есть наземные и полузаглубленные конструкции.
Все погреба делятся на расположенные непосредственно под домом и стоящие отдельно. В первом случае погреб обустраивают на стадии возведения фундамента и он становится частью проекта жилого помещения. Отдельностоящие конструкции можно возвести и после строительства дома. При планировке погреба учитывают:
- тип почвы : песчаная, глинистая или суглинистая. Для одного грунта подойдет заглубленная конструкция, для другого придется делать дренаж, отсыпку или «поднимать» погреб повыше. В скалистых почвах, как правило, погреба не обустраивают;
- уровень грунтовых вод : любые подземные сооружения лучше строить летом, когда этот уровень на минимуме. При высоком залегании грунтовых вод для погреба выбирают наивысшую точку на участке, а при монтаже конструкции обустраивают систему дренажа. В идеале уровень грунтовых вод должен проходить на 0,5 м ниже пола погреба;
- глубину промерзания : для каждой климатической зоны она своя. Где-то земля промерзает на 40–50 см, а в северных районах — до 90 см. Считается, что глубина погреба должна быть примерно в два-три раза ниже точки промерзания;
- местоположение : размещать погреб лучше вдали от деревьев, септиков, выгребных ям, колодцев и скважин.
Владислав Шагиев, мастер по строительству онлайн-сервиса для поиска специалистов «Профи»:
— Погреб может располагаться и под домом, если у него большая площадь, и в другом месте на участке. Главное преимущество погреба под домом — не надо далеко ходить, в нем можно хранить продукты, которые нужны каждый день.